- +1
成都可可豆动画获广电节目制作许可
2025-02-25 15:55
来源:澎湃新闻·澎湃号·湃客
听全文
字号
原创 侯春萍 微成都
这一许可的获得,意味着成都可可豆动画在动画制作及版权交易方面将拥有更广阔的发展空间,能够合法合规地开展更多元化的内容创作。微成都报道 天眼查APP显示,近日,成都可可豆动画影视有限公司(以下简称“成都可可豆”)获得广播电视节目制作经营许可证。这一行政许可由高新区教育文化体育局颁发,有效期至2027年2月16日,标志着成都可可豆在动画电影制作之外,还可以进一步拓展业务范围,涉足电视剧、综艺节目、广播剧等广播电视节目的制作与发行领域。
公开信息显示,成都可可豆成立于2015年12月,前身是成立于2009年的国内知名“饺克力”动画工作室。公司法定代表人为彭桦,注册资本300万人民币,由霍尔果斯可可豆动画影视有限公司全资持股。公司经营范围涵盖了动漫设计、动漫衍生品设计、电影发行等多个领域。
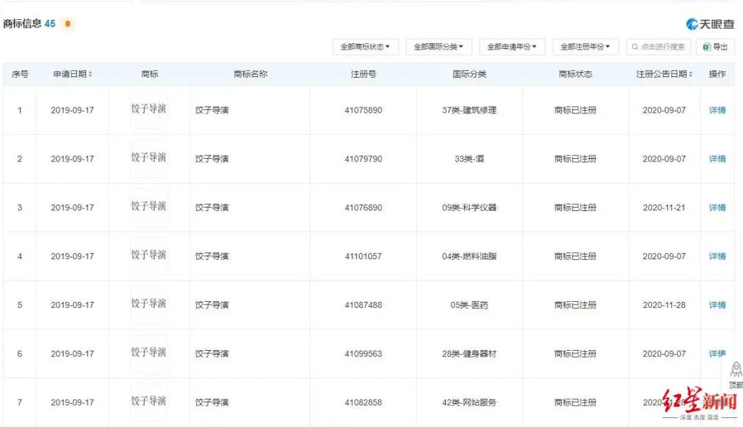
杨宇(饺子导演)为该公司实际控制人及最终受益人,间接持有56%股权,并担任监事职务。此外,该公司已注册多枚“饺子导演”商标和《哪吒之魔童闹海》相关作品著作权,内容涉及哪吒、敖丙、申公豹等角色,作品包括三维动画电影角色、Q版图库、动作等方面。
公司在动画电影领域取得了显著成绩,特别是其出品的《哪吒之魔童降世》及其续作《哪吒之魔童闹海》(以下简称“《哪吒2》”),在国内外都获得了极高的票房和口碑。其中,《哪吒2》于2025年春节档上映,截至2月24日全球票房已突破136亿元,登顶中国影史票房冠军、全球动画影史票房冠军。从《哪吒1》到《哪吒2》,如今的可可豆动画已入驻成都的特色园区——天府长岛数字文创园,并成为新晋粉丝打卡地。目前公司的创作团队也在不断壮大,团队规模从《哪吒2》时期的近百人扩增至如今的200人。
根据相关规定,持有广播电视节目制作经营许可证的企业可以从事专题、专栏、综艺、动画片、广播剧、电视剧等节目的制作及版权交易活动。这一许可的获得,意味着成都可可豆动画影视有限公司在动画制作及版权交易方面将拥有更广阔的发展空间,能够合法合规地开展更多元化的内容创作。
编辑侯春萍
END
原标题:《成都可可豆动画获广电节目制作许可》
特别声明
本文为澎湃号作者或机构在澎湃新闻上传并发布,仅代表该作者或机构观点,不代表澎湃新闻的观点或立场,澎湃新闻仅提供信息发布平台。申请澎湃号请用电脑访问http://renzheng.thepaper.cn。
+1
收藏
我要举报





查看更多
澎湃矩阵
新闻报料
- 报料热线: 021-962866
- 报料邮箱: news@thepaper.cn
互联网新闻信息服务许可证:31120170006
增值电信业务经营许可证:沪B2-2017116
© 2014-2026 上海东方报业有限公司
反馈




